¡öH.264 Encoder DVE-5
|
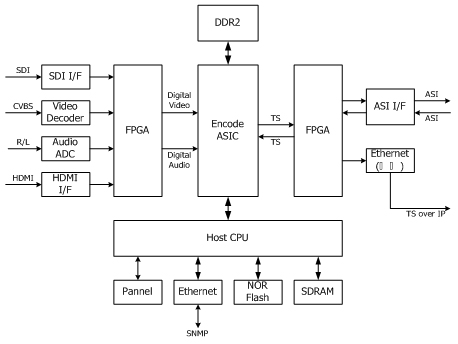
JIUZHOU H.264 Encoder DVE-5 can accept inputs like analog A/V, HDMI, SDI (embedded with digital audio). It completes encoding/compression as per H.264 and generates ASI stream up to DVB standards. It can transform MPEG-2 into H.264 too.
Product Features
- Specifications up to ITU-T H.264 MP@Level 3, ITU-T H.264 HP@Level 4.
- Hi-Fi audio processing technology, supporting R/L track and stereo input.
- Accurate synchronization and time control: A/V delay ≤ ±15ms.
- Coding auto adaptive to input video resolution.
- Supports transformation from MPEG-2 to H.264.
- Supports transformation from HD to SD.
- Accepts various inputs: analog A/V, HDMI, and SDI.
- 2 ASI outputs. Output bit rate 1~20Mbps tunable.
- Ethernet port RJ45 for remote control.
- Standard 19’ one rack unit chassis.
Block Diagram

Input Interfaces |
Unit |
Specifications |
Analog A/V |
|
|
Video |
- |
Type: CVBS
Connector: BNC, 75Ω
Norm: PAL/NTSC
Noise: < -60dB
Amplitude-Frequency Response: ±0.2dB, 10Hz~5.75Hz
Differential Phase: < 1%pp
Differential Gain: < 1°pp |
Audio |
- |
Type: balance audio
Connector: XLR, 600Ω
Level: 2Vp-p |
HDMI |
- |
Supports HD input. |
SDI |
- |
Supports SD and HD.
Connector: BNC, 75Ω |
ASI |
- |
Accepts ASI stream input.
Connector: BNC, 75Ω |
ASI Output |
|
|
Number of Outputs |
- |
2 |
Standard |
- |
DVB-ASI (EN50083-9) |
Bit Rate |
Mbps |
1~20 tunable |
Output level |
mV |
800 ±10% |
Output Jitter |
UI |
≤0.1 |
Audio Coding |
|
|
Standard |
- |
According to ISO/IEC 11172-2 MPEG-1 audio layer II. |
Sampling Frequency |
KHz |
32/44.1/48 |
Bit Rate |
Kbps |
64/128/192/256/384 |
Video Coding |
|
|
Standard |
- |
According to ITU-T H.264 MP@Level3, HP@Level4 |
Resolution |
- |
Up to CCIR601.
Supports 1/2 D1, 2/3 D1, 3/4 D1, and Full D1.
1920×1080@50i, 1920×1080@60i, 1920×1080@23.98p,
1280×720@50p, 1280×720@60p, 720×576@50i, 720×480@60i |
Electrical |
|
|
Power Supply |
V |
AC 110V/220V, 50~60Hz |
Power Consumption |
W |
30 |
Environmental |
|
|
Working Temperature |
°C |
0~+50 |
Storage Temperature |
°C |
-20~+70 |
Mechanical |
|
|
Dimensions |
mm |
480x320x44 (standard 19’ one rack unit) |
|